继电器的应用,相信大家都知道,在电路中只要给它供电、断电也就可以工作了。
然而,它的应用细节,不知道大家有没注意 。下面谈谈我的观点
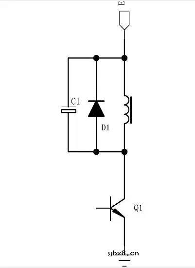
一、现在流行的接法,如图。

图中,继电器的线圈经过Q1作为开关,使其导通与断开。D1作为续流,消耗线圈中的能量。
二、继电器的特点;
1、吸合电流大于释放电流

2、保持电流小于吸合电流、大于释放电流。
以上两点均为继电器的“通病”,大家可以做一下实验,或看一看说明书。
三、流行电路的优点及缺点
大家知道,继电器的线圈相当于电感,它的电流不能突变。在释放时,Q1截止瞬间,线圈将仍保持原来的电流大小,如果不接入D1这个二极管,产生的电压-----理论上是无穷大的(在外电路负载为无穷大时),流行电路中的D1的接入,给线圈中的能量提供了释放的通道。
然而,假如(理论上)二极管为理想的,即它只单向导通而没有任何功率消耗,那么,在继电器释放时,线圈中的电流将一直保持吸合时的最大电流(同时假如线圈为理想的),这种情况将使继电器无法释放。
实际中的二极管及线圈都不是理想的,所以,它是可以释放的。继电器的吸合到释放是由线圈中的电流决定的,如果二极管及线圈的等效电阻(直流)很小,那么它的释放时间将很长,反之,则较短。
由此看,流行电路的优点是提供了Q1截止时的能量释放通道;其缺点是,释放时间还有进一步缩短的可能。
四、其它接法。
曾见过象下图中电路,也曾见过象下图中没有二极管的接法,这些接法都考虑到了抑制开关Q1截止时的反向电压,但没有考虑到释放时间问题。

五、建议接法。
1、加入电阻R1,使能量释放快一些。

上图中,线圈在Q1关断时,能量主要消耗在R1上,使继电器可以快速降到释放电流。
R1的选择,由Q1的最高反压、线圈工作电流两者决定,电阻越大,释放时间越短。---- 计算就不说了吧。
2、减小继电器保持时的功耗。
大家知道,继电器吸合时需要较大的电流,而保持吸合状态则不需要和吸合时的电流一样。
下图接入R1及C1将明显减小继电器的保持功耗。在继电器吸合前,C1已充电至供电电压,吸合的瞬间将由C1为
继电器供电,以保障吸合所需的大电流。当吸合后,供给线圈的电流来自R1,它将电流限制到较小状态。

审核编辑:汤梓红
继电器几个典型常用的接线图
时间:2026-03-06
为什么直流继电器要并联二极管呢?
时间:2026-03-06
更换或使用继电器时需要注意哪些事项?
时间:2026-03-06
学习PCB设计需要知道的16个原则
时间:2026-03-06
光伏控制器简介
时间:2026-03-06
PLC现场安装和维护的注意事项介绍
时间:2026-03-06
继电器的工作原理以及驱动电路解析
时间:2026-03-06
三菱PLC功能指令介绍(二)
时间:2026-03-06
三菱PLC辅助继电器和定时器介绍
时间:2026-03-06
HTCC:半导体封装的理想方式
时间:2026-03-06
关于STM32WL LSE 添加反馈电阻后无法起振的...
时间:2026-03-05
电阻的标称阻值和允许偏差
时间:2026-03-05
使用过滤器电容器和诱导器来抑制受辐射的EM...
时间:2026-03-05
高频旁路电容的原理_高频旁路电容的作用
时间:2026-03-05
如何正确的选择电容?晶振电容的计算方式
时间:2026-03-05
漆膜电容器的结构与特点
时间:2026-03-05
玻璃釉电容器的结构与特点
时间:2026-03-05
超级电容器在汽车控制中的应用
时间:2026-03-05
电容器的色标法
时间:2026-03-05
N沟道开漏输出和CMOS输出是什么?
时间:2026-03-05