压力继电器是一种液电信号转换元件。当控制油的压力达到调定值时,便触动电气开关发出电信号,控制电气元件(如电机、电磁铁、电磁离合器等)动作,实现泵的加载或卸载、执行元件顺序动作、系统安全保护和元件动作连锁等。任何压力继电器都由压力一位移转换装置和微动开关两部分组成。按前者的结构分为柱塞式、弹簧管式、膜片式和波纹管式4类,其中柱塞式zui为常用。
1.柱塞武压力继电器
图70所示为单柱塞式压力继电器的结构原理和符号。压力油从P口进入作用在柱塞底部,若其压力已达到弹簧的调定值时,便克服弹簧阻力和柱塞摩擦力,推动柱塞上升,通过顶杆触动微动开关发出电信号。限位挡块可在压力超载时保护微动开关。
压力继电器的性能主要有以下两项。
(1)调压范围。即发出电信号的zui低和zui高工作压力间的范围。拧动调节螺丝,即可调整工作压力。
(2)通断返回区间。压力继电器发出电信号时的压力称为开启压力,切断电信号时的压力称为闭合压力。开启时,柱塞、顶杆移动所受摩擦力方向与压力方向相反,闭合时则相同,故开启压力比闭合压力大。两者之差称为通断返回区间。通断返回区间应有足够的数值,否则压力波动时,压力继电器发出的电信号会时断时续。为此,有的产品在结构上可人为地调整摩擦力的大小,使通断返回区间的数值可调。

2.薄膜武压力继电器
薄膜式(叉称膜片式)压力继电器如图71所示。当控制油口P中的液压力达到弹簧10的调定值时,液压力通过薄膜2使柱塞3上移。柱塞3压缩弹簧10至弹簧座9达限位为止。同时,柱塞3锥面推动钢球4和6水平移动,钢球4使杠杆l绕销轴12转动,杠杆的另一端压下微动开关14的触点,发出电信号。调节螺钉11可调节弹簧10的预紧力,即可调节液压力。当油口P压力降低到一定值时,弹簧10通过钢球8将柱塞压下,钢球6靠弹簧5的力使柱塞定位,微动开关触点的弹簧力使杠杆1和钢球4复位,电路切换。
当控制油压使柱塞3上移时,除克服弹簧10的弹簧力外,还需克服摩擦阻力;当控制油压降低时,弹簧10使柱塞3下移,摩擦力反向。所以当控制油压上升使压力继电器动作(此压力称开启压力或动作压力)之后,如控制压力稍有下降,压力继电器并不复位,而要在控制压力降低到闭合压力(或称复位压力)时才复位。调节螺钉7可调节柱塞3移动时的摩擦阻力,从而使压力继电器的启、闭压力差可在一定范围内改变。
薄膜式压力继电器的位移小,反应快,重复精度高,但不宜高压化,且易受控制压力波动的影响。我国的DP-63型压力继电器(zui大调定压力为6.3MPa)即为此种结构。
3.弹簧管式压力继电器
图72所示为弹簧管式压力继电器的结构。弹簧管1既是感压元件又是弹性元件。当从P口进入弹簧管1的油液压力升高、下降时,弹簧管伸展或复原,与其相连的压板4产生位移,从而启、闭微动开关2的触点3发信。

弹簧管式压力继电器的特点是调压范围大,启、闭压差小,重复精度高。博世力士乐公司HED2型压力继电器(zui大调定压力为40MPa)即为此种结构。
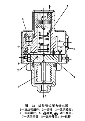
4.波纹管武压力继电器
图73所示为波纹管式压力继电器的结构。作用在波纹管组件1下方的油压使其变形通过心杆推动绕铰轴2转动的杠杆9。弹簧7的作用与液压力相平衡,通过杠杆上的微调螺钉3控制微动开关8的触点,发出电信号。
由于杠杆有位移放大作用,心杆的位移较小,因而重复精度较高。但因波纹管侧向耐压性能差,波纹管式压力继电器不宜用于高压系统。DP一(10、25、40)型压力继电器(zui大调定压力为10MPa、25MPa、40MPa)即为此种结构。
鉴于压力继电器的功能,要求压力继电器的灵敏度好,重复精度高。压力继电器产品技术参数如下表所示。

压力继电器结构原理
KD型压力继电器是在结构上进行简化后的压力继电器。它的传动机构直接采用弹簧传动,省去了如FP型压力继电器的杠杆机构,所以结构比较简单。但是它的工作原理和FP型的工作原理还是一样的,都是由制冷剂蒸气通过毛细管作用到继电器的波纹管上,使波纹管产生变形,通过传动机构,使微动开关接通或断开,从而控制压缩机的停开,保证机器安全运行。如图所示是KD一155型压力继电器的结构原理图

低压气体通过毛细管进入低压波纹管6,如果低压气体的压力大于调定值时,由波纹管的弹力通过传动j巷棒7和传动杆3,传到微动开关16的按钮上,并使其按下,电路闭合,压缩机正常运转。如果吸气压力低于调定值时,则调节弹簧2的张力克服波纹管的弹力,把传动芯捧抬起,解除传动杆对微动开关的压力。再由开关自身的张力使按钮抬起,于是电路断开,压缩机停止运转。高压继电器的工作原理:排气通过毛细管进入高压波纹管,当高压气体的压力小于调定值时,调节弹簧的压力大于气体压力,将传动螺丝抬起并解除传动杆对微动开关的压力,微动开关的按钮靠自身弹力抬起,使电路闭合,压缩机正常运行,如果压缩机排气压力超过调定值时,高压波纹管上的压力通过传动螺丝和传动杆压下按钮,使电路断开,压缩机停止运行。
压力继电器所控制的高压和低压的数值是可以根据工艺的要求在一定范围内进行调节的.调节弹簧的弹力太小可转动压力调节盘来调节。以低压为例当顺时针转动压力调节盘时,便调节弹簧压缩,弹力加大;逆时针旋转时则压力减小。而压差调节盘9则是调节微动开关断片和闭合的幅差,顺时针转动调节盘时,则压缩碟形弹4,使幅差增加;反之则减小,高压的调节方法和低压是相似的。
继电器几个典型常用的接线图
时间:2026-03-06
为什么直流继电器要并联二极管呢?
时间:2026-03-06
更换或使用继电器时需要注意哪些事项?
时间:2026-03-06
学习PCB设计需要知道的16个原则
时间:2026-03-06
光伏控制器简介
时间:2026-03-06
PLC现场安装和维护的注意事项介绍
时间:2026-03-06
继电器的工作原理以及驱动电路解析
时间:2026-03-06
三菱PLC功能指令介绍(二)
时间:2026-03-06
三菱PLC辅助继电器和定时器介绍
时间:2026-03-06
HTCC:半导体封装的理想方式
时间:2026-03-06
电阻的标称阻值和允许偏差
时间:2026-03-05
使用过滤器电容器和诱导器来抑制受辐射的EM...
时间:2026-03-05
漆膜电容器的结构与特点
时间:2026-03-05
玻璃釉电容器的结构与特点
时间:2026-03-05
关于STM32WL LSE 添加反馈电阻后无法起振的...
时间:2026-03-05
Vishay精密无磁薄膜片式电阻以小尺寸实现6W...
时间:2026-03-05
LED固晶机龙头直面“寒冬”
时间:2026-03-05
高频旁路电容的原理_高频旁路电容的作用
时间:2026-03-05
详细的领略一次什么是独石电容
时间:2026-03-05
电力电容器的故障维修
时间:2026-03-05