二~十进制码变换电路
电工基础2026-03-06
二~十进制码变换电路
二进制码——葛来码变换器
电工基础2026-03-06
二进制码——葛来码变换器
二进制一二~十进制码变换电路
电工基础2026-03-06
二进制一二~十进制码变换电路
简单的逻辑电平变换电路
电工基础2026-03-06
简单的逻辑电平变换电路
利用矩阵形式的译码显示电路
电工基础2026-03-06
利用矩阵形式的译码显示电路
七段一二~十进制码变换器
电工基础2026-03-06
七段一二~十进制码变换器
七段一十进制变换器
电工基础2026-03-06
七段一十进制变换器
七段一十进制或二~十进制码变换器
电工基础2026-03-06
七段一十进制或二~十进制码变换器
驱动CMOS器件的十进制一二~十进制变换器
电工基础2026-03-06
驱动CMOS器件的十进制一二~十进制变换器
十六种字符译码器
电工基础2026-03-06
十六种字符译码器
数控只读存储器构成的二进制码一七段显示变换器
电工基础2026-03-06
数控只读存储器构成的二进制码一七段显示变换器
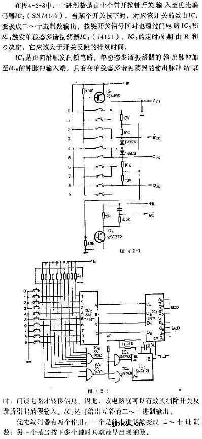
消除了开关反跳干扰的十进制一二~十进制变换器
电工基础2026-03-06
消除了开关反跳干扰的十进制一二~十进制变换器
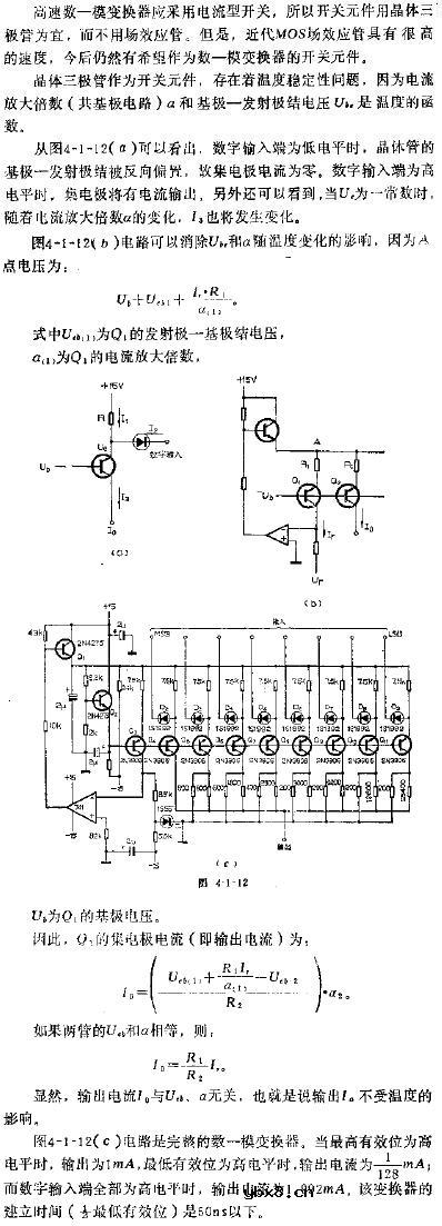
八位高速数一模变换器
电工基础2026-03-06
八位高速数一模变换器
八位逐次比较型模一数变换器
电工基础2026-03-06
八位逐次比较型模一数变换器
不需要钟脉的模一数变换器
电工基础2026-03-06
不需要钟脉的模一数变换器
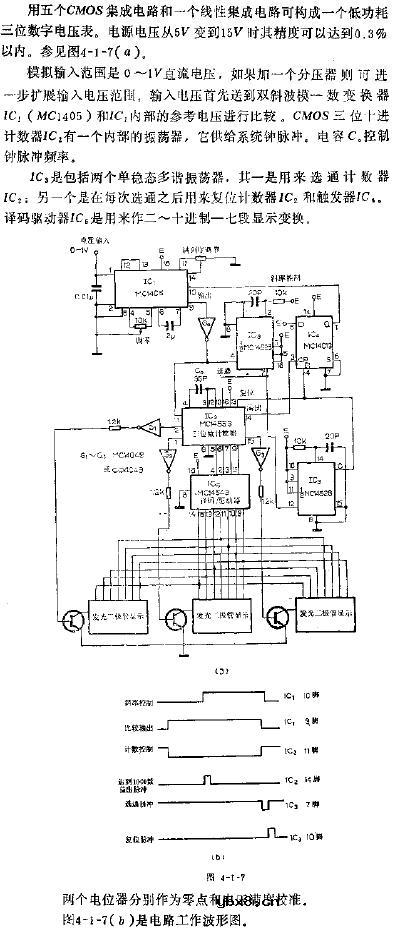
低功耗数字电压表
电工基础2026-03-06
低功耗数字电压表
彩灯电路
时间:2026-03-05
三相异步电动机原理
时间:2026-03-04
转角测量电路
时间:2026-03-05
经典的正弦波发生电路
时间:2026-03-05
袖珍节拍器电路图
时间:2026-03-05
电度表的工作原理
时间:2026-03-04
电动机单线远程正反转控制电路图
时间:2026-03-04
三相异步电动机的拆装详讲
时间:2026-03-04
三相异步电动机的七种调速方式
时间:2026-03-04
USB转232电路图
时间:2026-03-04