SK--11声控电路图
电工基础2026-03-06
SK--11声控电路图
SK--111声控电路图
电工基础2026-03-06
SK--111声控电路图
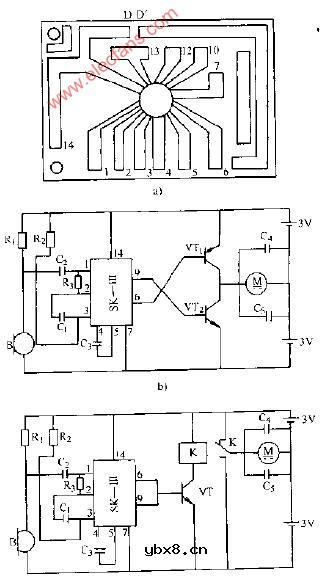
SK--111声控音乐演奏器电路图
电工基础2026-03-06
SK--111声控音乐演奏器电路图
SL517声控电动机电路图
电工基础2026-03-06
SL517声控电动机电路图
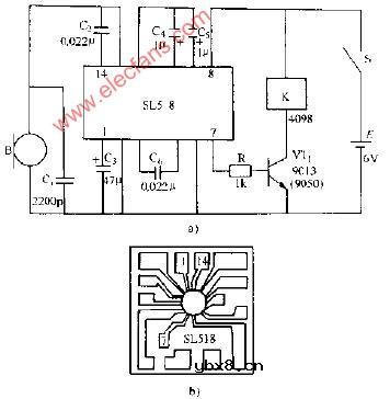
SL517声控集成电路的典型应用电路图
电工基础2026-03-06
SL517声控集成电路的典型应用电路图
SL517声控继成电器的典型应用电路图
电工基础2026-03-06
SL517声控继成电器的典型应用电路图
SL517声控继电器电路图
电工基础2026-03-06
SL517声控继电器电路图
SL517声控开关电路图
电工基础2026-03-06
SL517声控开关电路图
SL517声控路灯电路图
电工基础2026-03-06
SL517声控路灯电路图
声控插座电路图
电工基础2026-03-06
声控插座电路图
声控电风扇变速器电路图
电工基础2026-03-06
声控电风扇变速器电路图
压电晶体扬声器声控电灯电路图
电工基础2026-03-06
压电晶体扬声器声控电灯电路图
168型自动应急灯电路图
电工基础2026-03-06
168型自动应急灯电路图
2255多功能应急灯电路图
电工基础2026-03-06
2255多功能应急灯电路图
EG898 EG899型多功能应急灯电路图
电工基础2026-03-06
EG898 EG899型多功能应急灯电路图
EMERGENCY牌多功能应急灯电路图
电工基础2026-03-06
EMERGENCY牌多功能应急灯电路图
文氏电桥振荡电路
时间:2026-03-06
安全继电器的定义_作用及工作原理
时间:2026-03-06
固态继电器的作用
时间:2026-03-06
1 2 LT1013 1 2 LT1012管脚电路图
时间:2026-03-06
1 2 LT1013 1 2 LT1012原理电路图
时间:2026-03-06
3.3V电源、数字输出式大气压力计信号调节器...
时间:2026-03-06
8位100ms采样和保持电路图
时间:2026-03-06
AD22050电路功能方块电路图
时间:2026-03-06
热继电器的作用是什么
时间:2026-03-06
AD22050电流传感器接口电路图
时间:2026-03-06
彩灯电路
时间:2026-03-05
三相异步电动机原理
时间:2026-03-04
转角测量电路
时间:2026-03-05
经典的正弦波发生电路
时间:2026-03-05
袖珍节拍器电路图
时间:2026-03-05
电度表的工作原理
时间:2026-03-04
电动机单线远程正反转控制电路图
时间:2026-03-04
三相异步电动机的拆装详讲
时间:2026-03-04
三相异步电动机的七种调速方式
时间:2026-03-04
USB转232电路图
时间:2026-03-04