直流变换器电路图
电工基础2026-03-06
直流变换器电路图
高效率直流—直流变换器
电工基础2026-03-06
高效率直流—直流变换器
无变压器的电压极性变换器
电工基础2026-03-06
无变压器的电压极性变换器
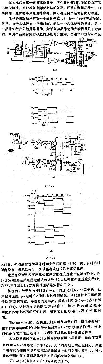
消除了电流尖脉冲的直流—直流变换器
电工基础2026-03-06
消除了电流尖脉冲的直流—直流变换器
温度一频率变换器电路图
电工基础2026-03-06
温度一频率变换器电路图
V/F变换器电路图
电工基础2026-03-06
V/F变换器电路图
正电压负电压变换器电路图
电工基础2026-03-06
正电压负电压变换器电路图
二进制码——葛来码变换器
电工基础2026-03-06
二进制码——葛来码变换器
七段一二~十进制码变换器
电工基础2026-03-06
七段一二~十进制码变换器
七段一十进制变换器
电工基础2026-03-06
七段一十进制变换器
七段一十进制或二~十进制码变换器
电工基础2026-03-06
七段一十进制或二~十进制码变换器
驱动CMOS器件的十进制一二~十进制变换器
电工基础2026-03-06
驱动CMOS器件的十进制一二~十进制变换器
数控只读存储器构成的二进制码一七段显示变换器
电工基础2026-03-06
数控只读存储器构成的二进制码一七段显示变换器
消除了开关反跳干扰的十进制一二~十进制变换器
电工基础2026-03-06
消除了开关反跳干扰的十进制一二~十进制变换器
八位高速数一模变换器
电工基础2026-03-06
八位高速数一模变换器
八位逐次比较型模一数变换器
电工基础2026-03-06
八位逐次比较型模一数变换器
相序继电器工作原理的全面介绍
时间:2026-03-06
热保护器的工作原理解析
时间:2026-03-06
热敏干簧继电器是什么
时间:2026-03-06
电动机保护元件:热继电器的三种过载保护形...
时间:2026-03-06
电磁型电流继电器的动作条件
时间:2026-03-06
继电器PLC和晶体管PLC区别
时间:2026-03-06
场效应管时间继电器是怎样工作的?
时间:2026-03-06
电路板式继电器
时间:2026-03-06
继电器电路故障
时间:2026-03-06
继电器的作用及触点故障处理方法
时间:2026-03-06
彩灯电路
时间:2026-03-05
三相异步电动机原理
时间:2026-03-04
转角测量电路
时间:2026-03-05
经典的正弦波发生电路
时间:2026-03-05
电度表的工作原理
时间:2026-03-04
电动机单线远程正反转控制电路图
时间:2026-03-04
三相异步电动机的拆装详讲
时间:2026-03-04
三相异步电动机的七种调速方式
时间:2026-03-04
USB转232电路图
时间:2026-03-04
音响电平监视器电路图
时间:2026-03-05